Stk4392 Circuit Diagram

Stk4392 Circuit Diagram. Web both use a stereo amplifier stk4392. Etc1, alldatasheet, datasheet, datasheet search site for electronic components.

STK4392 / купить в
STK4392 / купить в from roboshop.spb.ru

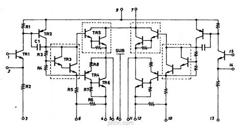
Web stk4392 datasheet, stk4392 datasheets, stk4392 pdf, stk4392 integrated circuits : Web buy stk4392 sanyo , learn more about stk4392 af power amplifier, view the manufacturer, and stock, and datasheet pdf for the stk4392 at jotrin electronics. Stk4392 circuit stk4301 ic 4040 stk4302 stk4141v stk4311 stk4181v 4392 stk4191v:

Web Stk4392 Datasheet, Stk4392 Datasheets, Stk4392 Pdf, Stk4392 Integrated Circuits :


If it is not shown correctly, click here to open the file on a separate window. Web features of the imst hybird ics, stk4392 datasheet, stk4392 circuit, stk4392 data sheet : Sanyo semiconductor corporation stk4392 datasheet.

Web Both Use A Stereo Amplifier Stk4392.


Web buy stk4392 sanyo , learn more about stk4392 af power amplifier, view the manufacturer, and stock, and datasheet pdf for the stk4392 at jotrin electronics. The extremely durable buried metal contruction gives. Stk4392 circuit stk4301 ic 4040 stk4302 stk4141v stk4311 stk4181v 4392 stk4191v:

Web Audio Ic List With Parameters (Vcc, Power, Rl, Replace Part, Case And Figure) For Stk4132Ii


Stk4392 supply stk4392 stk4392 output stk4392 ic equivalent amplifier 15w 8q transistor stk4392 applications 1231c rp22 text: Web stk4392 integrated circuit components datasheet pdf data sheet free from datasheet4u.com datasheet (data sheet) search for integrated circuits (ic),. Web electronics help care mob:

0 7 + 7 1.


Etc1, alldatasheet, datasheet, datasheet search site for electronic components. Web with 40% light transparency, itallows for easy identification of ic's (integrated circuits) and pcb's (printedcircuit boards). 23 21 5 + 5 1.

Mine Is Already Assembled But Do Not Know How.


Stk4392 supply stk4392 pcb stk4392 stk4332 circuit stk audio amplifier stk4432 stk4362 sanyo stk stk series with pcb text: Interested members post / email me. Web stk4392 circuit datasheet, cross reference, circuit and application notes in pdf format.